[ad_1]
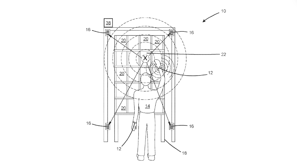
A diagram from an Amazon patent application shows a human worker (labeled with “14”) wearing an ultrasonic bracelet tracking his or her hand movements and providing feedback. The patent was granted on Tuesday.
The U.S. Patent and Trademark Office has granted Amazon two patents for wristbands that could track the exact location of warehouse workers’ hands — and give workers tactile feedback to help guide them to a specific shelf.
The wristband and receiver system, as shown above in a diagram from the patent application, would rely on radio frequencies or ultrasonic pulses to monitor the device’s specific location. They would use haptic feedback — a tactile sensation, akin to how a smartphone will give feedback to a user through touch — to alert a worker that they are in the wrong location, or guide them to the right one.
The retail giant applied for the two patents in 2016; the applications were first published in September. The patents were granted on Tuesday.
Amazon has not responded to NPR’s request for comment. It’s not clear whether the patented devices will actually be rolled out in the field.
The new patent for Amazon shows another way that technology can work with — or on — a human worker.
The system calls for a shelf with products in specific locations, or “inventory bins,” a bracelet or wristband worn by the worker, and either an ultrasonic or radio-based tracking system.
The system, by monitoring precise hand movements, could identify whether the worker picks up an item from the bin instructed, or places it in the right location.
It could also communicate information back to the worker.
A “a guidance signal” could be sent to the bracelet, for instance, “indicating one or more directions in which the worker 14 should move the worker’s respective hand,” one of the patent descriptions states. The number 14 is meant to identify the human worker labeled on the diagram (see above), as separate from the other numbered components of the system, like the bracelet, the monitoring system and the bins themselves.
“The ultrasonic unit 12 can be configured to control a suitable communication means (e.g., indicator LEDs, a suitable display screen, and/or a haptic feedback mechanism) to communicate to the worker,” the document continues.
The company has long been dedicated to improving the efficiency of its warehouses through technology — from algorithms designing warehouse layouts to robots fetching products.
As NPR’s Alina Selyukh reported last week, warehouse workers are not necessarily concerned that robots are coming for their jobs:
“One Amazon warehouse worker says her job includes making boxes for items that the scanners can’t handle — like a fishing rod that’s too thin for the lasers to recognize.
“‘A lot of the machines I see or deal with in the warehouse really aren’t that great,’ she says, speaking anonymously to not violate the terms of her employment. ‘There are just so many things that you need a competent human to deal with in our warehouse.’
“But she’s actually eager to see robots deal with heavy lifting and the messy parts of the job.
“That appeals to [Radial warehouse worker Chris] Beatty, too, once he learns that Amazon has robots to bring the shelves to workers, instead of workers walking the aisles in search of products.
“‘That would be pretty cool,’ he says, ‘to see a robot bring some of your work to you.’ “
Beatty and other warehouse workers already use a variety of tech tools, of course, including a scanner that tells him where to find a product and where to place it in his cart.
Geekwire, the tech news site that first reported on the patents, has more on the device:
“The inventors say the system circumvents the need for “computationally intensive and expensive” monitoring by means of computer vision, a la Amazon Go.
“And the inventors know their way around computer vision: The patent for the ultrasonic wristband was filed by Jonathan Cohn, senior technical program manager for Amazon Go. The radio-frequency wristband system was proposed by Tye Brady, chief technologist for Amazon Robotics.”
[ad_2]
Source link








